Interesting Battery Patent From Hyundai Looks Perfect For 'Mid-Engine' Sports Car

Share
Hyundai N Vision 74 Concept

by Evan Williams

Hyundai and Kia could have some exciting electric shenanigans afoot. CarBuzz uncovered a patent for a new battery pack design that could be perfect for smaller and lighter vehicles like sports cars and roadsters. Instead of a traditional flat and rectangular design, the new pack is taller and has a special shape. One that could fit those types of vehicles to a... glove. Okay ... to a T.

Hyundai N Vision 74 Concept front three-quarter

Hyundai

Making an electric vehicle battery that's a non-traditional shape isn't exactly a complicated idea, but it is one that can be troublesome to integrate in a vehicle. You can align the cells in almost any configuration you'd like, as long as you can get connections to the exterior of the pack.

New Plates Ensure Everything Is Chill

Hyundai Tee Battery Patent (3)

Hyundai/EUIPO

It's cooling the cells that's the tough part. As well as grounding them, at least according to the new patent. Air-cooled cells are fine for lower-performance models, but if you want something that's high-performance and highly durable, then a liquid is necessary. If you want multiple layers, like this pack, liquid cooling is essential. Air simply can't get into the middle of multiple layer packs effectively.

Hyundai Tee Battery Patent (2)

Hyundai/EUIPO

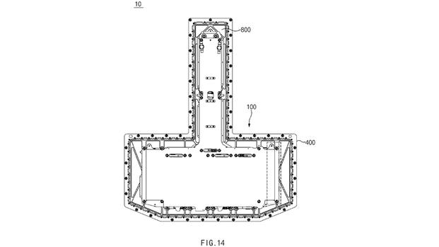
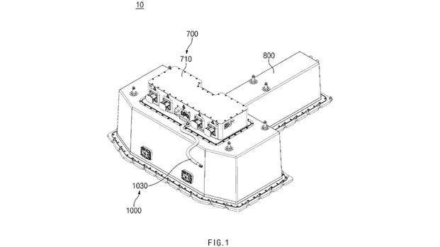
According to the patent filing, Hyundai and Kia want to make battery packs that have multiple layers. The drawings show a pack with three cell modules deep and six wide. They also show the "tee" shape, where the modules are only two deep and two wide, but the strange shape is part of the arrangement.

To make it work, there needs to be a cooling plate between each layer of modules. That plate is used to circulate the coolant and balance the temperatures in the assembly. Each plate also holds a grounding unit, which connects the negative side terminals of every module and cell in the grouping. Each individual cooling plate is then linked together using a special link. Each plate is also held together similarly to Lego bricks, where posts insert and are captured into the layer above or below.

Could This Mean A New Electric Sports Car?

Hyundai Tee Battery Patent (1)

Hyundai/EUIPO

What's the point? This lets the Korean car companies put batteries in places where they wouldn't normally fit. It could also let them put a battery in a vehicle where having a low roofline (and thus a low floor) is important.

Read the full article on CarBuzz 

This article originally appeared on CarBuzz and is republished here with permission.

Story Continues
Share
Autos